2. BUILDING YOUR OWN WOOD GAS GENERATOR

The following fabrication instructions, parts lists, and illustrations describe the prototype gasifier unit shown schematically in Fig. 1-3. These instructions are simple and easy to follow. The dimensions in the following plans are given in inches rather than in millimeters to make construction easier for those who might be unfamiliar with the metric system and to allow the builder to take advantage of available, alternate construction materials. It will be obvious to the experienced engineer, mechanic, or builder that most of the dimensions (for example, plate thicknesses and cleanout diameters) are not critical to the acceptable performance of the finished gasifier unit.

The prototype gasifier unit described in the following text was actually constructed and field tested on a gasoline engine farm tractor (a 35-hp, John Deere 1010 Special); see Fig. 2-1. The unit operated very well, and on par with the European, World War II designs, but it has not had the test of time nor the millions of operating hours like the older Imbert design. This new stratified design was developed for the construction of simple, inexpensive emergency wood gas generator units. The prototype design below should be considered to be the absolute minimum in regard to materials, piping and filter arrangement, and carburetor system connections.

The gasifier unit, as described below, is designed to maintain proper cooling, even at moderate vehicle speeds. If this unit is to be used on stationary engines or on slow-moving vehicles, a gas cooler and a secondary filter must be placed in the piping system between the generator unit and the carburetor. The ideal temperature for the wood gas at the inlet to the carburetor manifold would be 70oF, with acceptable peaks of 140 to 160oF. For every 10 degrees above 70oF, an estimated 1% horsepower is lost. Cooler gas has higher density and, therefore, contains more combustible components per unit volume.

The millions of wood gasifiers built during World War II proved that shape, form, and construction material bad little or no effect on the performance of the unit. Judicious substitution or the use of scavenged parts is, therefore, quite acceptable. What is important is that:

  1. the fire tube dimensions (inside diameter and length) must be correctly selected to match the rated horsepower of particular engine which is to be fueled,
  2. airtightness of the gas generator unit and all connecting piping must be maintained at all times, and
  3. unnecessary friction should be eliminated in all of the air and gas passages by avoiding sharp bends in the piping and by using piping sizes which are not too small.

2.1. BUILDING THE GAS GENERATOR UNIT AND THE FUEL HOPPER

Figure 2-2 shows an exploded view of the gas generator unit and the fuel hopper; the list of materials is given in Table 2-1(all figures and tables mentioned in Sect. 2 are presented at the end of Sect. 2). Only the dimensions of the fire tube (Item lA) must be reasonably close; all other dimensions and materials can be substituted as long as complete airtightness is maintained. In the following instructions, all item numbers refer both to Fig. 2-2 and to Table 2-1.

The prototype unit described in this report was constructed for use with a 35-hp gasoline engine; the unit has a fire tube diameter of 6 in. (as determined from Table 2-2). A gas generator unit containing a fire tube up to 9-in. diameter (i.e., a gasifier unit for fueling engines up to about 65 hp) can be constructed from the following instructions. If your engine requires a fire tube diameter of 10 in. or more, use a 55-gal drum for the gas unit and another 55-gal drum for the fuel hopper.

The following fabrication procedure is very general and can be applied to the construction of gas generator units of any size; however, the specific dimensions which are given in the parts list and in the instructions below are for this particular prototype unit. All accompanying photographs were taken during the actual assembly of the prototype unit. The fabrication procedure is as follows:

  1. Using the displacement or horsepower rating of the engine to be fueled by the gasifier unit, determine the dimensions (inside diameter and length) of the fire tube (Item lA) from Table 2-2. Fabricate a cylindrical tube or cut a length of correctly sized pipe to match the dimensions from Table 2-2. (For the prototype gasifier unit illustrated in this report, a 6-in.-diam firetube was used; its length was 19 in.)

  2. The circular top plate (Item 2A) should be cut to a diameter equal to the outside diameter of the gasifier housing drum (Item 3A) at its top. A circular hole should then be cut in the center of the top plate; the diameter of this hole must be equal to the outside diameter of the fire tube. The fire tube (Item 1A) should then be welded at a right angle to the top plate (Item 2A) as shown in Fig. 2-3.

  3. The grate (Item 4A) should be made from a stainless steel mixing bowl or colander. Approximately 125 holes with diameters of 1/2 in. should be drilled in the bottom and up the sides of the mixing bowl; see Fig. 2-4. A U-bolt (Item 5A) should be welded horizontally to the side of the grate, 2 in. from its bottom. This U-bolt will be interlocked with the shaker mechanism (Item 12A) in a later step.

  4. The support chains (Item 6A) are to be attached to the grate in three evenly spaced holes drilled under the lip of the mixing bowl or colander; see Fig. 2-5. These chains are to be connected to the top plate (Item 2A) with eyebolts (Item 7A), as shown in Fig. 2-6. Each eyebolt should have two nuts, one on each side of the top plate, so that the eyebolts can be adjusted to the proper length. When assembled, the bottom of the firetube should be 1.25 in. above the bottom of the mixing bowl.

  5. A hole equal to the outside diameter of the ash cleanout port (Item SA) should be cut into the side of the gasifier housing drum (Item 3A); the bottom edge of this hole should be about 1/2 in. from the bottom of the drum. Because of the thin wall thickness of oil drums and garbage cans, welding is not recommended; brazing such parts to the drums or cans will ensure both strength and airtightness (see Fig. 2-7).

  6. Two holes, equal to the outside diameters of the ignition ports (Item 10A), are to be cut with their centers at a distance from the top of the housing drum (Item 3A) equal to the firetube length less 7 in. (19 in. less 7 in. equals 12 in. for this prototype unit); the holes should be placed opposite each other as shown in Fig. 2-2. The ignition ports should be attached to the wall of the housing drum by brazing.

  7. When the ash cleanout port (Item 8A) and the ignition ports (Item 10A) have been attached to the wall of the gasifier housing drum (Item 3A), they should then be closed with pipe caps, Items 9A and 11A respectively. The threads of the pipe caps should be first coated with high temperature silicone (Item 27A) to ensure airtightness. An optional steel crossbar welded to the pipe cap will reduce the effort required to open these caps later.

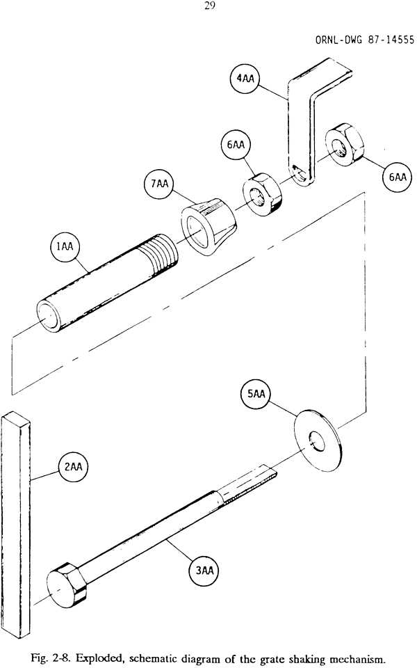
  8. The shaker assembly (Item 12A) is shown in Fig. 2-8. The 1/2-in. pipe (Item 1AA) should be brazed into the side of the housing drum (Item 3A), 1.5 inches from the bottom of the drum; the length of this pipe which protrudes into the drum must be chosen so that the upright bar (Item 2AA) is in line with the U-bolt (Item 5A) on the grate. Likewise, the length of the upright bar must be selected so as to connect into the U-bolt.

  9. Weld the upright bar (Item 2AA) to the head of the bolt (Item 3AA). The threaded end of the bolt should be ground down or flattened on one side, as shown in Fig. 2-9, to positively interlock with a slot to be drilled and filed in the handle (Item 4AA). The handle can be formed or bent into any desired or convenient shape.

  10. A hole should be drilled in the pipe cap (Item 7AA) so that there is a close fit between this hole and the bolt (Item 3AA). The close fit will help to ensure airtightness.

  11. Before assembling the shaker, as shown in Fig. 2-8, coat the bolt (Item 3AA) with a small amount of grease. Before inserting the bolt, fill the pipe (Item lAA) with high temperature silicone (Item 27A) to ensure airtightness. Tighten the nuts (Item 6AA) so that the position of the handle (Item 4AA) is maintained by friction, yet is capable of being turned and agitated during cleanout or stationary operation.

  12. Fabricate the supports (Item 13A) for the gasifier unit housing drum (Item 3A) out of rectangular, iron bar stock. The shape and height of the support flanges must be determined by the frame of the vehicle to which the gasifier is to be mounted. The supports can either be bolted to the bottom and side with the 114-in. bolts (Item 14A) or can be brazed directly to the drum; see Fig. 2-10. Remember to seal all bolt holes for airtightness.

  13. Completely cover the bottom of the housing drum (Item 3A) with 1/2 in. of hydraulic cement (Item 28A). The cement should also be applied to the inside of the drum for about 5 in. up the inside walls near the bottom. All edges should be rounded for easy ash removal.

  14. The fuel hopper (Item 15A) is to be made from a second container with its bottom up as shown in Fig. 2-11. Remove the bottom, leaving a 1/4-in. lip around the circumference.

  15. A garden hose (Item 17A) should be cut to a length equal to the circumference of the fuel hopper (Item 15A) and should then be, slit along its entire length. It should be placed over the edge of the fuel hopper from which the bottom was removed. This will prevent injury to the operator when adding wood fuel to the unit. To insure close fit of the garbage can lid (Item 16A), a piece of weather stripping (Item 18A) should be attached under the lid where it makes contact with the fuel hopper.

  16. Cut four support bars (Item 19A) to lengths 2.5 in. longer than the height of the fuel hopper (Item 15A). Drill a 3/8-in. hole in each end of all four support bars; these holes should be centered 3/4 in. from the ends. Bend 2 in. of each end of these support bars over at a right angle; then, mount them evenly spaced around the fuel hopper (Item 15A) with 1/4-in. bolts (Item 20A). One of the bends on each support bar should be as close to the lower edge of the fuel hopper as possible.

  17. Cut four metal triangular standoffs (Item 21A) and braze, weld, or rivet them flat against the edge of the garbage can lid (Item 16A) as shown in Fig. 2-12; they must be aligned with the four support bars (Item 19A) attached to the fuel hopper. During operation, the garbage can lid must have a minimum 3/4-in. opening for air passage; the standoffs should provide this clearance, where they are engaged into the holes in the top edges of the support bars (Item 19A); see Fig. 2-13,.

  18. Two eye hooks (Item 22A) should be attached to opposite sides of the garbage can lid (Item 16A). Two screen door springs (Item 23A) should be attached to the garbage can handle-s and used under tension to keep the top lid (Item 16A) either open or closed.

  19. Cut the oil drum lock ring (Item 24A) to the exact circumference of the top plate (Item 2A) so that it will fit snugly around the gasifier unit housing drum (Item 3A).

  20. Cut four 2 by 2 by 1/4-in. tabs (Item 25A); then, braze these tabs to the lock ring (Item 24A), evenly spaced and in alignment with the support bars (Item 19A) on the fuel hopper. Drill a 3/8-in. hole in each tab to align with the holes in the fuel hopper support bars (Item 19A). The lock ring is shown in Fig. 2-14.

  21. The connecting pipe (Item 29A) between the gasifier unit and the filter unit should be attached to the gasifier housing drum (Item 3A) at a point 6 in. below the top of the drum. This pipe must be a minimum of 2-in. in diameter and should be at least 6 ft long for cooling purposes. At least one of the ends of this pipe must be removable for cleaning and maintenance. On this prototype unit, an airtight electrical conduit connector was used; this connection is visible in Fig. 2-1. Many similar plumbing devices are available and can be used if they are suitable for operation at 400oF and above. The pipe can also be welded or brazed directly to the housing drum.

  22. When assembling the gasifier unit, the upright bar (Item 2AA) on the shaker assembly must be placed inside the U-bolt (Item 5A) on the grate.

  23. The lock ring will then clamp the gasifier unit housing drum (Item 3A) and the top plate (Item 2A) together. The fuel hopper support bars (Item 19A) must be attached to the tabs (Item 25A) on the lock ring with bolts (Item 26A). High temperature silicone (Item 27A) should be applied to all edges to make an airtight connection. The lock ring connections are shown in the lower portion of Fig. 2-13.

2.2 BUILDING THE PRIMARY FILTER UNIT

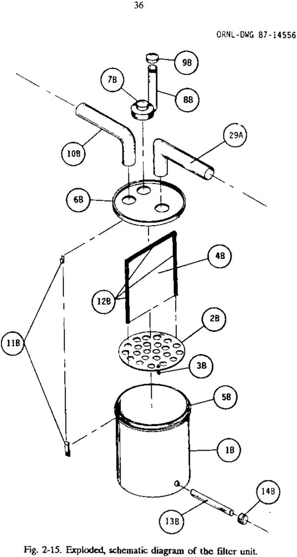
Figures 2-15 and 2-16 show exploded views of the primary filter unit; the list of materials is given in Table 2-3 (all figures and tables mentioned in Sect. 2 listed in the figure and table files). In the following instructions, all item numbers refer to either Fig. 2-15 or 2-16 and to Table 2-3.

The prototype primary filter unit was made from a 5-gal paint can. That size seems to be sufficient for gasifiers with fire tubes up to 10 in. in diameter. If a fire tube diameter of more than 10 in. is required, then a 20-gal garbage can or a 30-gal oil drum should be used. The Filter unit could be fabricated in any shape or form as long as airtightness and unobstructed flow of gas are provided. If a 5-gal container is used, it must be clean and free of any chemical residue. The top edge must be straight and without any indentations. If an alternate container can be found or fabricated, a larger diameter will permit longer operation between cleanings.

The piping (Item 29A in Figs. 2-2 and 2-15) which connects the gas generator unit to the primary filter should be considered to be a necessary part of the cooling system and should never have an inside diameter less than 2 in. A flexible automotive exhaust pipe was used on the prototype filter unit described below; it was shaped into a semicircular are so that increased length would achieve a greater cooling effect. The fabrication procedure for the filter unit follows:

  1. A hole equal to the outside diameter of the drain tube (Item 13B in Fig. 2-15) should be cut into the side of the filter container (Item 1B); the bottom edge of this hole should be about 1/2 in. from the inside bottom of the container.

  2. The drain tube (Item 13B) should be inserted into the previously cut hole in the filter container and should be positioned so that its nonthreaded end is near the center of the container and is about 1/2 in. off the bottom. Once this position has been ensured, braze (do not weld) the drain pipe into the side of the filter container. Close the threaded, exterior end of the drain pipe with the pipe cap (Item 14B).

  3. Coat the bottom of the filter container (Item 1B) with a 1/2-in. layer of hydraulic cement (Item 28A), taking care not to plug or obstruct the end of the drain tube (Item 13B) with cement (i.e., fill the drain tube with a paper, styrofoam, or other easily removable, but rigid material). The cement should also be applied for about 1.5 in. up the inside walls of the container near its bottom. Round the edges slightly; the cement is to provide a pathway for any liquid condensate to drain out through the drain tube. The cement must be allowed to harden before proceeding with the fabrication steps below. Remove the filler material from the drain tube when the cement has hardened.

  4. A circular bottom plate (Item 2B) should be cut to a diameter 1/2 in. smaller than the inside diameter of the filter container (Item 1B). This will allow for heat expansion and easy removal for cleaning. This bottom plate should be drilled with as many 3/4-in. holes as are practical for the size of the plate. Three evenly spaced 3/8-in. holes should also be drilled around the edge of the bottom plate for the spacer bolts (Item 3B).

  5. Fig. 2-16 shows the detail of using three bolts (Item 3B) as spacers for the bottom plate (Item 2B). The length of the bolts should be adjusted to provide a clearance of about 2-in. between the layer of cement in the bottom of the container (Item 1B) and the bottom plate (Item 2B).

  6. A rectangular divider plate (Item 4B) should be cut to a width 1/4 in. less than the inside diameter of the filter container (Item 1B) and to a height 2.5 in. less than the inside height of the container. This divider plate should then be welded at a right angle to the centerline of the bottom plate (Item 2B) as shown in Fig. 2-17.

  7. Cut a piece of high-temperature hydraulic hose (Item 5B) to a length equal to the circumference of the filter container. It should be slit along its entire length and then placed over the top edge of the filter container (Item 1B) to ensure airtightness.

  8. A circular lid (Item 6B) should be cut equal to the outside diameter of the filter container (Item 1B). Three holes should be cut into this lid for the exhaust pipe (Item 29A) from the gasifier unit, the blower (Item 7B), and the filter exhaust pipe (Item 1OB) to the engine manifold. Note the arrangement of these holes: the pipe (Item 29A) from the gasifier unit must enter the lid on one side of the divider plate (Item 4B); the blower (Item 7B) and the filter exhaust pipe (Item 1OB) to the engine manifold must be located on the other side of the divider plate. This arrangement can be seen in Fig. 2-18.

  9. The connecting pipe (Item 29A) between the gasifier unit and the filter unit should be attached to the lid (Item 5B) of the filter container. At least one of the ends of the connecting pipe (Item 29A) must be removable for cleaning and maintenance. On this prototype unit, an airtight electrical conduit connector was used. Many similar plumbing devices are available and can be used if they are suitable for operation at 400oF and above. The pipe can also be welded or brazed directly to the lid.

  10. Attach the blower (Item 7B) to the filter container lid (Item 6B). On the prototype gasifier illustrated in this report, a heater blower from a Volkswagen automobile was used. Connections for a vertical extension tube (Item SB) will have to be fabricated as shown in Fig. 2-19. A closing cap (Item 9B) is required for the blower exhaust tube. A plumbing cap of steel or plastic with a close fit can be used or fabricated to fit. The vertical extension and the closing cap are visible in Fig. 2-1.

  11. The gas outlet (Item 10B) to the carbureting unit on the engine should be 1.25 in. minimum diameter. In fabricating this connection, all abrupt bends should be avoided to ensure free flow of gas. Using plumbing elbows is one solution. The gas outlet (Item 10B) can either be welded or brazed to the lid (Item 6B) of the filter container or an airtight, electrical conduit connector can be used.

  12. Latching devices (Item 11B) should be welded or brazed to the lid (see Fig. 2-20) and to the sides (see Fig. 2-21) of the filter container. An air tight connection between the lid and the filter container must be maintained.

  13. Cut two lengths of high-temperature hydraulic hose (Item 12B) equal to the height of the divider plate (Item 4B); cut a third length of hose equal to the width of the divider plate. Slit each hose along its entire length. Place the first two hoses on each side of the divider plate, and place the third hose along the top edge of the divider plate as shown in Fig. 2-17.

  14. Insert the divider plate (Item 4B) into the filter container (Item 1B), making sure that the hoses (Item 12B) create an airtight seal along all sides. By changing the length of the spacer bolts (Item 3B), adjust the height of the divider plate so that it is exactly flush with the top of the filter container. Make sure that the lid (Item 5B) will seat flatly and tightly against the top edge of the divider plate.

  15. Fill the filter container (Item 1B) on-both sides of the divider plate with wood chips, the same kind as would be used for fuel in the gasifier unit. After carefully packing and leveling these wood chips, place the lid (Item 6B) on the filter container, and close the latches tightly.

2.3. BUILDING THE CARBURETING UNIT WITH THE AIR AND THROTTLE CONTROLS

Figures 2-22 and 2-23 show exploded views of the carbureting unit; the list of materials is given in Table 2-4 (all figures and tables mentioned in Sect. 2 are presented at the end of Sect. 2). In the following instruction's, all item numbers refer both to Figs. 2-22 and 2-23 and to Table 2-4. The following is a simple and easy way to assemble a carburetor to achieve both air mixture and throttle control. It can be mounted to either updraft or downdraft manifolds by simply turning the unit over. Most of the fabrication procedure below is devoted to the assembly of two butterfly valves: one for the throttle valve and one for the air mixture valve. The remainder of the carburetor unit can be assembled from ordinary, threaded plumbing parts.

The inside diameter of the piping used in the carburetor unit must be related to the size of the engine and should never be smaller than the intake opening on the engine manifold. If in doubt on the inside diameter for the pipe and/or hose sizes, always go with a larger diameter. This will reduce friction losses and will give longer operating hours between cleanings.

When the wood gas leaves the filter unit it should normally be below 180oF. About 2 ft from the filter container, an automotive water hose can be connected to the pipe on the carbureting unit. This rubber hose will keep engine vibration from creating air leaks in the filter unit or in the connecting piping. The hose must be a fairly new item; such hoses have a steel spring inside to keep them from collapsing when negative pressure is applied. The spring will soon rust if it has first been subjected to water and then to the hot wood gas enriched with hydrogen. The fabrication procedure for the assembly of two butterfly valves follows:

  1. The manifold adapter (Item 1C in Fig. 2-22) must be fitted with bolts and/or holes for mounting onto the engine's existing intake manifold. Because gasoline engines are produced with so many different types of intake manifolds, ingenuity and common sense must be used to modify the manifold adapter (Item 1C) for each different engine to be operated on wood gas. A gasket (Item 7C) should be cut to match the shape of the engine intake fitting.

  2. The butterfly valve (Item 3C) is shown in Figs. 2-24 and 2-25; two such valves are required. A 3/8-in. hole should be drilled through the diameter of each valve body (Item 1CC) at the midpoint of its length.

  3. The valve plate (Item 2CC) must be oval in shape with the dimensions given in Table 2-4. An oval valve plate must be used so that, in the closed position, the valve will be about 10o off center. This will ensure that the valve will come to a complete stop in the closed position.

  4. The edges of the valve plate (Item 2CC), around the longer diameter of the oval, should be beveled to provide a positive, airtight closure. Two evenly spaced, 1/4-in. holes should be drilled along the shorter diameter of the oval plate.

  5. The valve support rod (Item 3CC) should be filed or ground flat on one side as shown in Fig. 2-24; the flat area must begin 1/4 in. from one end and must continue for a distance equal to the inside diameter of the valve body (Item 1CC).

  6. Two 3/16-in. holes should be drilled into the flat area of the valve support rod (Item 3CC); these holes must align with the holes in the valve plate (Item 2CC). They must also be tapped (with threads) to accept the valve plate screws (Item 4CC).

  7. The butterfly valve (Item 3C) should be assembled by first placing the valve support rod (Item 3CC) through the hole in the valve body (Item 1CC). The valve plate (Item 2CC) should be dropped into one end of the valve body and then inserted into the flat area of the valve support rod. The two screws (Item 4CC) should be used to attach the valve plate to the support rod. Check to see that the assembled valve plate rotates freely and seats completely in the closed position.

  8. A nut (Item 6CC) should be welded flat against one side of the throttle arm (Item 5CC) near its end. A 1/8-in. hole should be drilled into the side of the nut and must be threaded to accept the set screw (Item 7CC). At least one hole should be drilled into the throttle arm for attachment of the engine throttle control or air control linkages.

  9. Place the nut (Item 6CC) on the throttle arm over the end of the valve support rod (Item 3CC) and use the set screw (Item 7CC) to secure the assembly. The throttle arm can be placed in any convenient orientation. Assembled butterfly valves are shown in Fig. 2-26.

  10. The remaining parts of the carburetor assembly should be screwed together as shown in Fig. 2-27. Pipe thread compound should be used to make airtight connections. The assembled carburetor unit should be attached to the engine's intake manifold as shown in Fig. 2-28

  11. This prototype gasifier was designed to operate if gasoline were unavailable; but, if dual operation on wood and gasoline is desired, the elbow (Item 2C) could be replaced with a tee, allowing a gasoline carburetor to also be mounted.

  12. The arm on the butterfly valve (Item 3C) which is closest to the elbow (Item 2C) is to be connected to the foot- (or, on tractors, hand-) operated accelerator. The other butterfly valve is to be used as the air mixture control valve and can be operated with a manual choke cable. If the engine has an automatic choking device, then a hand operated choke cable should be installed. Both butterfly valves and their connecting control linkages must operate smoothly with the ability to adjust the valve yet keep it stationary in the selected position during operation. The linkages must close the valves airtight when the engine is off.

  13. The air inlet (Item 6C) should be connected by an extension hose or pipe, either iron or plastic, to the existing engine's air filter in order to prevent road dust or agricultural residue from entering the engine.

  14. The wood gas inlet (Item 5C) is to be connected to the outlet piping (Item 10B as shown in Fig. 2-15) from the wood gas filter unit. Part of this connection should be a high-temperature rubber or neoprene hose to absorb engine vibration.


Back to Table of Contents